成果简介
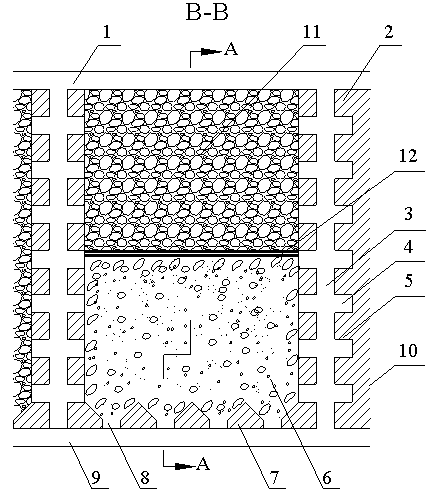
为克服常规留矿法在大量放矿时随着围岩暴露面积的增加带来的围岩大量片落和大范围移动、矿石贫化、漏斗堵塞等缺点,充分发挥充填料在支撑两帮、控制岩移等方面的优势作用,陈庆发在无废开采、绿色开采、协同开采等理念的联合指导下,通过吸收充填采矿技术优势,对浅孔留矿法采矿工艺进行了二次创新,于2010年在提出同步充填理念的同时提出了一种代表性采矿方法,即“大量放矿同步充填无顶柱留矿采矿方法”。该采矿方法将围岩中等稳固以上的急倾斜薄至中厚稳固矿体划分阶段,阶段内划分矿块;矿房内矿石连同顶柱一起按传统留矿法由下而上逐层回采,不留顶柱;大量放矿前预先在留矿堆表面铺设柔性隔离层;大量放矿时从回风巷道下放块度适中的干式充填料,由人工或电耙方式进行平场作业,借助振动放矿机配合重力放矿,控制矿石溜出率和充填料下放率,使充填料与矿石同步均匀下沉,控制围岩暴露面积,直至矿石全部放出。该方法防止了围岩大量片落混入矿石,控制了矿石贫化率和损失率,提高了矿石回收率,限制了地表沉陷。
应用前景
本成果,对传统浅孔留矿法进行了改进,使大量放矿与充填工序同步进行,防止了围岩大面积冒落后混入采场矿石,有力地控制了矿石贫化率,有效地提高了矿石回收率,实现了对地表大规模沉陷有效控制;同时,有利于矿山废料排放促进矿区绿色开发;通过发挥充填体对围岩的支撑作用,拓展了留矿法的应用范围,借助振动放矿机配合重力放矿,保持矿石溜出率和充填料下放率协调一致,严格控制了围岩暴露面积,避免了围岩大规模移动和地表沉陷,降低了矿石损失率和贫化率;充填的废石若干年后可能变成可利用资源,届时废石资源等同于再造一座地下矿山;由于不留顶柱,提高了矿石回收率;工艺简单、便于工人掌握。
成熟度
该成果处于小试实验阶段。
成果展示

图1 大量放矿同步充填无顶柱留矿采矿方法示意图
知识产权情况
序号 |
专利号 |
成果名称 |
1 |
201010181971.2 |
大量放矿同步充填无顶柱留矿采矿方法 |
成果完成人
资源环境与材料学院:陈庆发
成果转化,请联系成果与合作处,联系人:王老师,联系电话:0771-3810467。